III. Einsatz, Herstellen und Verlegen von Minen, F. Verminen von Straßen, Wegen und GeländeIII. Einsatz, Herstellen und Verlegen von Minen, F. Verminen von Straßen, Wegen und GeländeInhaltsverzeichnis
Ausbildungsvorschrift für die Pioniere - Teil 4b - Minen und Zünder
III. Einsatz, Herstellen und Verlegen von Minen
F. Verminen von Straßen, Wegen und Gelände

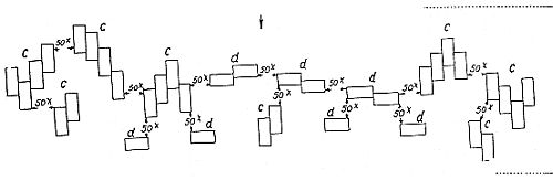
Bild 78.
Beispiele für Minenfelder mit Schutzstreifen gegen Zerknallübertragung.

a) Kompanieminenfeld getarnt verlegt, Deckung der Schutzstreifen durch getarnt verlegte Kompanieminenfelder.

b) Kompanieminenfelder getarnt verlegt, Deckung der Schutzstreifen durch verlegte Gruppenminenfelder.

c) Minenfelder offen verlegt, Deckung der Schutzstreifen durch offen verlegte Gruppen-minenfelder.

c = offen verlegte Minenfelder, 1 T-Mine auf 1 m,
nach Bild 79.
d = offen verlegte Minenfelder, 1 T-Mine auf 2 m,
nach Bild 80.
b) Offenes Verlegen von T-Minen (flüchtig getarnt oder ungetarnt) bei Schnee und Frost sowie zur raschen Abwehr eines erkannten Panzerangriffs z.B. in der Tiefe eines Hauptkampffeldes durch Pionierreserven. Entfernung von Mitte
T-Mine mindestens 10 Schritt = 8 m.

144. Für das rasche offene Verlegen von T-Minen sind folgende Formen zweck-mäßig:

a) Verlegen aus der Marschordung (Bild 79),
b) Verlegen aus der Linie zu 2 Gliedern (Bild 80).
145. Das Minenfeld wird aus der Marschordnung auf das Kommando:

Minenverlegen aus der Marschordnung !

auf Pfiffe oder Zeichen verlegt.

Bild 79.
T-Minenfeld offen verlegt von 1 Gruppe (12 Mann),
je Mann 2 T-Minen, je 1 m Frontbreite 1 T-Mine

Hierzu ist drillmäßig zu üben:
I. Gruppe X 10 Schritt Zwischenraum
(nach rechts [links] oder nach rechts und links).
II. 1. Glied 60 Schritt vorwärts,
2. Glied 40 Schritt vorwärts,
3. Glied 20 Schritt vorwärts,
4. Glied bleibt stehen.
III. 1. Glied bleibt stehen,
2. Glied 1 Schritt nach rechts,
3. Glied 3 Schritt nach rechts,
4. Glied 4 Schritt nach rechts.
IV.

Jeder Mann verlegt seine erste Mine und stellt deren T-Minenzünder auf "Scharf".

V. Alles 10 Schritt vor, 5 Schritt nach rechts.
VI.

Jeder Mann verlegt seine zweite T-Mine und stellt deren T-Minenzünder auf "Scharf".

Entsichert wird erst auf Befehl, das 1. Glied beginnt bei den am weitesten feindwärts ver-legten T-Minen, das 2. Glied entsichert erst, wenn das 1. Glied seine 2. T-Mine entsi-chert hat und zurückgegangen ist usw.

2 Gruppen "treffenweise" eingesetzt, ergeben ein Minenfeld mit 2 T-Minen je 1 m Front-breite.

146. Im Zug und in der Kompanie werden die Gruppen nebeneinander angesetzt, Staffe-lung freigestellt, so daß eine Zugbreite von 90 Schritt = 72 m und eine Kompaniebreite von 270 Schritt = 216 m entsteht. Dichte des Feldes: 1 T-Mine je 1 m Frontbreite.

Tiefenstaffelung, z.B. "treffenweiser" Einsatz einer 2. Kompanie, ergibt ein Minenfeld von 2 T-Minen auf 1 lfd. m Frontbreite.

147. Das Minenfeld aus der Linie zu 2 Gliedern wird auf das Kommando:
Minenverlegen aus der Linie zu 2 Gliedern !
auf Pfiffe oder Zeichen verlegt.

III. Einsatz, Herstellen und Verlegen von Minen, F. Verminen von Straßen, Wegen und GeländeIII. Einsatz, Herstellen und Verlegen von Minen, F. Verminen von Straßen, Wegen und GeländeInhaltsverzeichnis