II. Minen und Zünder; A. Panzerabwehrminen: 10. Panzerabwehrhandgranate 73 A.T.II. Minen und Zünder; B. Schützenminen: 2. SpringmineInhaltsverzeichnis
Merkblatt über englische Spreng- und Zündmittel, Minen und Zünder
II. Minen und Zünder
B. Schützenminen

Schützenminen werden gegen Schützen und sonstige lebende Ziele verwendet.

1. Schrapnellmine.

Englische Benennung:

Shrapnell Mine Mark I (S.Mine MK. I).

Deutsche Benennung:

S-Mine 441 (e) (S Mi 441 (e)).

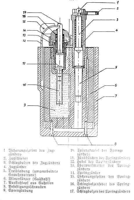
Die Schrapnellmine (Bild 80) ist ein zylindrischer, gußeiserner Körper.
Gesamtgewicht: etwa 5,5 kg,
Gewicht der Sprengladung: etwa 0,225 kg Ammonsalpeter Tri 80/20,
Durchmesser: etwa 10 cm,
Höhe ohne Zünder: etwa 14 cm,
Höhe mit Zünder: etwa 21 cm,

Farbe:

Minenkörper gelb mit einem roten Ring oben und einem grünen Ring unten; ferner über der Behälternaht einen grünen, senkrechten Streifen vom roten bis zum grünen Ring.

Teile der Mine:

Ausstoßtopf,

Minenkörper mit Füllschraube 6,

Zugzünder 4 mit Treibladung 5,

Springzünder 14 mit Sprengkapsel 10 und Zündhütchen 11,

Sprengladung 9.

Bild 80.
Schrapnellmine
(Schnitt.)

Die Mine wird mit Zugzünder und Springzünder, jedoch getrennt von Treibladung und Sprengkapsel befördert.

Die beiden Zünder sind durch Sicherungssplinte gesichert.

Die Mine kann nur durch Zug betätigt werden. Sie wird daher stets in Verbindung mit Spann- oder Stolperdrähten verlegt.

Durch Zug von etwa 4 kg wird der Zugschieber 2 und der Schlagbolzen 3 betätigt und die Treibladung 5 (umgearbeitete Gewehrpatrone) gezündet. Der Minenkörper 6 wird ohne Verzögerung aus dem Ausstoßtopf 7 herausgeschleudert, wobei die beiden Befestigungs-schrauben 8 abreißen. Beim Herausschleudern des Minenkörpers wird der Hebel 12 des Springzünders 14, der in einem Schlitz des Ausstoßtopfes gehalten wurde, frei, kippt in-folge des Zuges des Schlagbolzens 17 bzw. des Druckes der Schlagbolzenfeder 16 über und gibt den Schlagbolzen 17 frei, der über Zündhütchen 11 und Sprengkapsel 10 die Sprengladung 9 zum Zerknall bringt.

Die Mine zerknallt etwa 1,5–1,7 m über dem Boden.

Die Verzögerung wird nur durch die Trägheit der Zündvorrichtung erreicht. Beim Zerknall wird der Gußstahl-Mantel des Minenkörpers in kleinste Teile zerrissen.

Aufnehmen.

Die Mine ist sehr empfindlich, daher Vorsicht beim Aufnehmen nötig. Sie ist tief im Boden verlegt, daß nur der Zugschieber 2 des Zugzünders 4 aus der Tarnung herausragt.

Beim Suchen ist auf Stolperdrähte, Fußschlingen usw. zu achten. Gefundene Drähte sind vorsichtig zu durchschneiden.

Dann sind die beiden Zünder 4 und 14 vorsichtig freizulegen und durch Splinte, Nägel oder Draht von 1,5–2 mm Ø zu sichern. Der gesicherte Zugzünder 4 wird herausgeschraubt, die Mine aus dem Boden genommen und umgewendet, damit die Treibladung 5 herausfällt (weiche Unterlage). Nach Lösen der Überwurfmutter 13 (Rechtsgewinde) wird der Spring-zünder 14 herausgenommen und die Mine nochmals gewendet, damit die Sprengkapsel 10 mit dem Zündhütchen 11 herausfällt (weiche Unterlage).

Die Mine ist nun ungefährlich.
Fällt die Sprengkapsel nicht heraus, ist die Mine zu sprengen.

Wiederverwenden.

Wird die Mine wiederverwendet, sind Zünder, Treibladung und Sprengkapsel auf einwand-freie Beschaffenheit zu prüfen. Nicht einwandfreie Teile sind zu vernichten.

Fertigmachen:
Zugzünder abschrauben (Rechtsgewinde),
Patronenloch auf Sauberkeit prüfen,
Treibladung (Loch auf Loch) einsetzen,
Sicherungssplint am Zugzünder auf einwandfreie Lage prüfen,
Zugzünder einschrauben,
Sicherungssplint am Springzünder auf einwandfreie Lage prüfen,
Springzünder nach Lösen der Überwurfmutter abnehmen,
Sprengkaspelloch auf Sauberkeit prüfen,

Sprengkapsel mit dem dünneren Ende voraus so einsetzen, daß sie auf dem vorgesehenen Lager ruht,

Springzünder wieder einsetzen (der Hebel des Springzünders muß im Schlitz liegen),

Überwurfmutter einschrauben.

Die Mine ist nun gesichert und kann in diesem Zustand gefahrlos zum Verlegungsort ge-bracht werden.

Verlegen:
Mine eingraben, Zugschieber des Zugzünders muß über der Erde liegen;
Minenloch bis zum oberen Rand mit Erde auffüllen und festklopfen;

Sperrdraht (Stolperdraht) befestigen und spannen. Ist der Sperrdraht zu straff gespannt, verschiebt sich der Zugschieber und klemmt den Sicherungssplint, die Spannung des Sperrdrahtes ist dann zu vermindern und der Zugschieber mit Zeigefinger und Daumen in die ursprüngliche Lage zu bringen;

Springzünder entsichern;

Mine, ohne Druck auf sie auszuübern, fertig einbauen und tarnen. Der Zugschieber des Zugzünders muß frei liegen und darf nicht klemmen;

Zugzünder entsichern;

Die Mine ist nun scharf.

II. Minen und Zünder; A. Panzerabwehrminen: 10. Panzerabwehrhandgranate 73 A.T.II. Minen und Zünder; B. Schützenminen: 2. SpringmineInhaltsverzeichnis