2. Nachtrag: 15. Verminen von Gebäuden2. Nachtrag: 17. Beobachtungs-MinenInhaltsverzeichnisInhaltsverzeichnis 2. Nachtrag
Merkblatt über Russische Spreng- und Zündmittel, Minen und Zünder
2. Nachtrag
16. Verschiedene Anwendungsmöglichkeiten von Tret- und Stolperdrahtminen

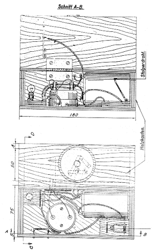
Durch Agenten-Nachrichten sind zahlreiche Verwendungsmöglichkeiten von russischen Tret- und Stolperdrahtminen bekanntgeworden, die im Prinzip bereits erwähnt sind. Zur Unterrichtung werden einige Bildbeispiele angeführt (Bild 182 bis 194).

Bild 182.
Stolperdrahtmine.

Bild 183.
Stolperdrahtmine.

Bild 184.
Stolperdrahtmine.

Bild 185.
Stolperdrahtmine.

Bild 186.
Stolperdrahtmine

Bild 187.
Stolperdrahtmine.

Bild 188.
Elektrische Stolperdrahtmine.

Bild 189.
Elektrische Tretmine, verbunden mit Stolperdraht.

Bild 190.
Tretmine.

Bild 191.
Tretmine.

Bild 192.
Tretmine.

Bild 193.
Tretmine.

Bild 194.
 ElektrischeTretmine.

2. Nachtrag: 15. Verminen von Gebäuden2. Nachtrag: 17. Beobachtungs-MinenInhaltsverzeichnisInhaltsverzeichnis 2. Nachtrag