|
|
| BOMB FUZE DATA |
| Part 2 - ARMY BOMB FUZES |
| BOMB TAIL FUZE M150 |
|
Characteristics |
| Action - Impact (all-ways action), instantaneous. |
| Modification - Fuze M150 was formely designated Fuze M141. |
| Status - Service. |
| Restriction on Use - None. |
| Air Travel to Arm - None required; arms upon release from cluster. |
| Indication of Arming - Arming pin missing. |
|
|
|
Figure 92. - Tail Fuze M150 |
|
Bombs in Which Used |
| Note - This fuze always comes assembled in the bomb. |
| BOMB TAIL FUZE M151 |
|
Characteristics |
| Action - Impcat, inertia firing, 8 - 15 sec. delay. |
| Modification - None. |
| Status - Service. |
| Restriction on Use - Should be used in bombs from wing tracks only. |
| Air Travel to Arm - Approximately 200 ft. |
|
Indication of Arming - If the arming stem is missing or more than 1¼ in. of the thread-ed portion of the arming stem is visible on one side of the fuze, the fuze should be con-sidered armed. |
|
|
|
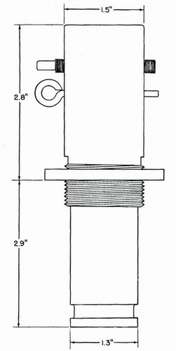
Figure 91. - Outline Drawing of Tail Fuze M151 |
|
Bombs in Which Used |
|
100-lb. G.P. Bomb AN-M30 and Mods (with Antiricochet Device M16) |
|
250-lb. G.P. Bomb AN-M57 and Mods (with Antiricochet Device M16) |
|
500-lb. G.P. Bomb AN-M64 and Mods (with Antiricochet Device M16) |
|
|
|
Figure 93. - Tail Fuze M151 |
|
Weight and Packing |
| Weight of Fuze Fully Loaded - Approximately 2.0 lb. |
|
Standard Packing - Fifteen fuzes, each in a metal container, are packed in a wooden crate measuring 19.3 in. x 11.4 in. x 8.3 in. and weighing 51 lb. gross. |