Bomb Tail Long-Delay Fuzes M132, M133, M134Bomb Nose Fuze M136A1
BOMB FUZE DATA
Part 2 - ARMY BOMB FUZES
BOMB NOSE FUZE M135A1

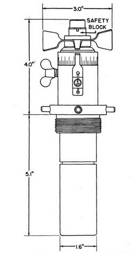
Characteristics

Action - Mechanical time 5 - 92 sec. or instantaneous upon impact. (Similar to fuze M111A2, with lower body and booster of Fuze AN-M103.)

Modification - M135A1 differs from M135 only in having an minimum time setting of ten sec. instead of five sec.

Status - Not produced for Naval use.
Restriction on Use - Not to be used by Naval activities.
Air Travel to Arm - Approximately 1300 ft.
Indication of Arming - Safety block missing.

Figure 69. - Outline Drawing of Nose Fuze M135A1

Bombs in Which Used

May be used in any bomb in wich Fuze AN-M103 will fit. (See page 45.)

Figure 70. - Nose Fuze M135A1

Weight and Packing

Weight of Booster - 1.9 oz. tetryl

Bomb Tail Long-Delay Fuzes M132, M133, M134Bomb Nose Fuze M136A1