Munition des 10,7 cm Geb.Gr.W. 328 (r) - Blatt bGewichtsangaben für die Munition des 10,7 cm Geb.Gr.W. 328 (r)Verzeichnis der Kennblätter fremden Geräts (Rußland)Verzeichnis der Länder
Kennblätter fremden Geräts; Heft 8b - Munition über 3,7 cm

D 50/8b

Kennblätter fremden Geräts
Rußland

dtsch Kennummer:

Munition des 10,7 cm Geb Gr W 328 (r) - russ 38 -

328 13 (r)
Blatt c

D. Gas- und Nebelgeschosse

dtsch Ben:

10,7 cm Gas Wgr 337 (r)
Inhalt: (Geländekampfstoff)

10,7 cm Gas Wgr 338 (r)
Inhalt: (Luftkampfstoff)

dtsch K Nr:

337 72 (r)

338 72 (r)

Anstrich:

grün mit rotem Kopf
oder
grau mit 2 grünen Ringen
oder
ungestrichen, aber mit
den Ringkennzeichen

grün mit grünem Kopf
oder
grau mit 1 grünen Ring
oder
ungestrichen, aber mit
den Ringkennzeichen


dtsch Ben:

10,7 cm Gas Wgr 339 (r)
Inhalt: (Phosphor)

dtsch K Nr:

339 72 (r)

Anstrich:

grün mit weißem Kopf
oder
grau mit 2 schwarzen Ringen
oder
ungestrichen, aber mit
den Ringkennzeichen


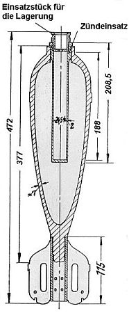
Schnitt mit den Maßen für die Gas-Wgr 337 (r) und 338 (r)
sowie für die Nebel-Wgr 339 (r)

Siehe auch Kennblätter X 13 (r) Blatt a–e (Allgemeine Angaben über die Nebel- und Gas-geschosse der sowj.-russ. Armee).

Erläuterung der Kennzeichen für Gas- und Nebel-Wgr:

a = Geheimziffer der Kampf- oder Nebelstoffmischung
b = Geheimziffer der Fabrik und Namensbuchstaben des Abnehmers
c = Lieferung
d = Fülljahr
e = Gewichtsklasse

Munition des 10,7 cm Geb.Gr.W. 328 (r) - Blatt bGewichtsangaben für die Munition des 10,7 cm Geb.Gr.W. 328 (r)Verzeichnis der Kennblätter fremden Geräts (Rußland)Verzeichnis der Länder